首页
专利数据库
产业人才
行业动态
产业政策法规
维权援助
个人中心
登录/注册
详情
文本
图像
标题:
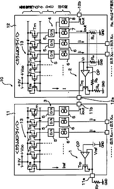
有機EL駆動回路およびこれを用いる有機EL表示装置
授权日:
1900-01-01
公开(公告)号:
JP2003288045A
申请日:
2002-03-27
公开(公告)日:
2003-10-10
当前申请(专利权)人:
ローム株式会社
发明人:
前出 淳 | 藤沢 雅憲
简单同族:
JP2003288045A | JP3742357B2 | KR100488909B1 | KR1020030078012A | TW200306519A | TWI282079B | US20030184236A1 | US20040169478A1 | US6747417 | US7026766
简单同族成员数量:
10
简单同族被引用专利总数:
100
诉讼案件数:
0
法律状态/事件:
未缴年费