首页
专利数据库
产业人才
行业动态
产业政策法规
维权援助
个人中心
登录/注册
详情
文本
图像
标题:
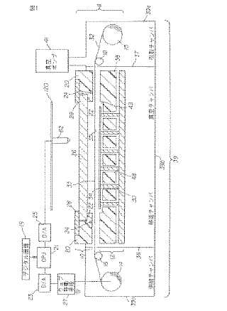
有機発光ダイオードデバイスの層を形成するためにドナーウェブから有機材料を転写する装置
授权日:
1900-01-01
公开(公告)号:
JP2004079540A
申请日:
2003-08-20
公开(公告)日:
2004-03-11
当前申请(专利权)人:
イーストマン コダック カンパニー
发明人:
ブラッドリー アレン フィリップス | デイビッド ビー ケイ
简单同族:
CN1485218A | EP1391946A2 | EP1391946A3 | JP2004079540A | KR1020040017787A | TW200403952A | US6695030
简单同族成员数量:
7
简单同族被引用专利总数:
86
诉讼案件数:
0
法律状态/事件:
撤回