首页
专利数据库
产业人才
行业动态
产业政策法规
维权援助
个人中心
登录/注册
详情
文本
图像
标题:
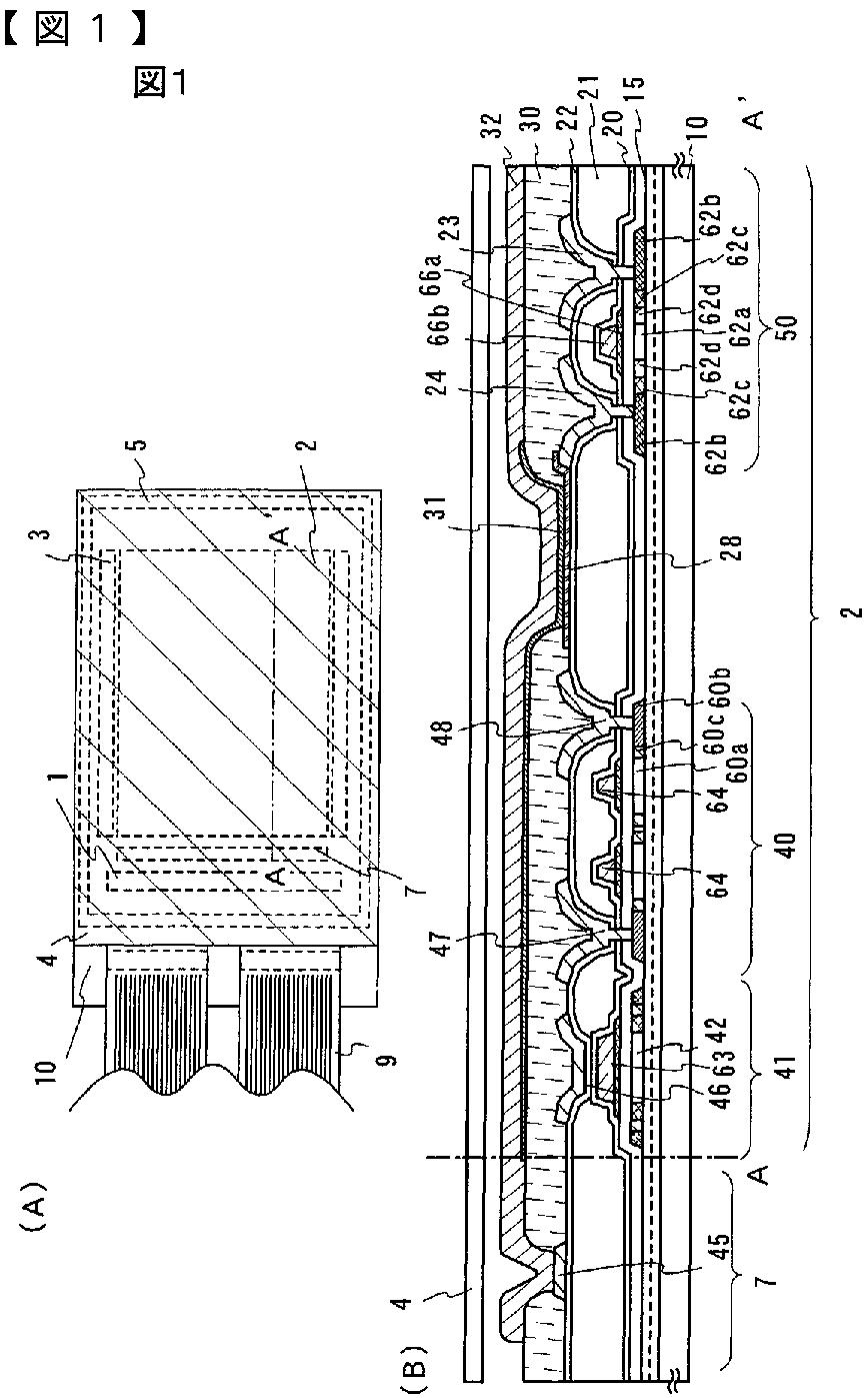
表示装置の作製方法
授权日:
2010-07-23
公开(公告)号:
JP4554367B2
申请日:
2003-12-19
公开(公告)日:
2010-09-29
当前申请(专利权)人:
株式会社半導体エネルギー研究所
发明人:
土屋 薫 | 石垣 歩 | 斎藤 恵子
简单同族:
AU2003289449A1 | CN100484350C | CN1732719A | JP4554367B2 | JPWO2004062323A1 | JPWO2004062323A5 | KR101017854B1 | KR1020050084497A | US20040246432A1 | US7452257 | WO2004062323A1
简单同族成员数量:
11
简单同族被引用专利总数:
67
诉讼案件数:
0
法律状态/事件:
未缴年费