首页
专利数据库
产业人才
行业动态
产业政策法规
维权援助
个人中心
登录/注册
详情
文本
图像
标题:
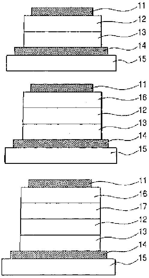
金属配位化合物を用いた電界発光素子
授权日:
1900-01-01
公开(公告)号:
JPWO2003076549A1
申请日:
2003-03-05
公开(公告)日:
2005-07-07
当前申请(专利权)人:
キヤノン株式会社
发明人:
坪山 明 | 岡田 伸二郎 | 滝口 隆雄 | 鈴木 幸一 | 三浦 聖志 | 森山 孝志 | 井川 悟史 | 鎌谷 淳 | 古郡 学 | 岩脇 洋伸
简单同族:
AU2003213375A1 | JPWO2003076549A1 | US20040013905A1 | US6929873 | WO2003076549A1
简单同族成员数量:
5
简单同族被引用专利总数:
82
诉讼案件数:
0
法律状态/事件:
撤回