首页
专利数据库
产业人才
行业动态
产业政策法规
维权援助
个人中心
登录/注册
详情
文本
图像
标题:
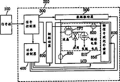
栅信号延迟补偿型液晶显示器及其驱动方法
授权日:
2008-02-13
公开(公告)号:
CN100369098C
申请日:
2001-11-06
公开(公告)日:
2008-02-13
当前申请(专利权)人:
三星显示有限公司
发明人:
朴倖源 | 李仲熙
简单同族:
CN100369098C | CN1363919A | EP1223571A2 | EP1223571A3 | JP2002236280A | JP4790926B2 | KR100796787B1 | KR1020020057408A | TWI240236B | US20020084968A1 | US7133034
简单同族成员数量:
11
简单同族被引用专利总数:
86
诉讼案件数:
0
法律状态/事件:
未缴年费 | 权利转移