首页
专利数据库
产业人才
行业动态
产业政策法规
维权援助
个人中心
登录/注册
详情
文本
图像
标题:
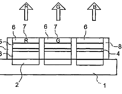
光の外部結合を改善した電界発光ディスプレイ
授权日:
1900-01-01
公开(公告)号:
JP2006501617A
申请日:
2003-09-23
公开(公告)日:
2006-01-12
当前申请(专利权)人:
コーニンクレッカ フィリップス エレクトロニクス エヌ ヴィ
发明人:
ベルナー,ヘルベルト フリードリヒ | ユーステル,トーマス
简单同族:
AU2003260885A1 | CN1685770A | CN1685770B | EP1550356A1 | JP2006501617A | KR1020050072424A | US20060152150A1 | WO2004032576A1
简单同族成员数量:
8
简单同族被引用专利总数:
70
诉讼案件数:
0
法律状态/事件:
驳回