首页
专利数据库
产业人才
行业动态
产业政策法规
维权援助
个人中心
登录/注册
详情
文本
图像
标题:
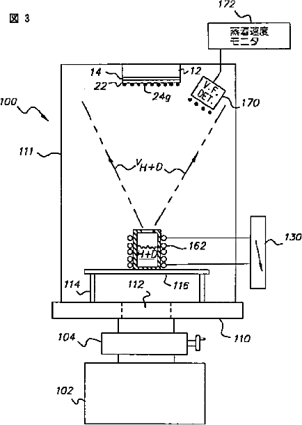
有機発光材料の蒸着方法
授权日:
1900-01-01
公开(公告)号:
JP2002025770A
申请日:
2001-05-18
公开(公告)日:
2002-01-25
当前申请(专利权)人:
イーストマン コダック カンパニー
发明人:
ジャンミン シー
简单同族:
CN1336411A | EP1156536A2 | EP1156536A3 | JP2002025770A | KR1020010105298A | TW593622B | US20040016907A1
简单同族成员数量:
7
简单同族被引用专利总数:
126
诉讼案件数:
0
法律状态/事件:
撤回