首页
专利数据库
产业人才
行业动态
产业政策法规
维权援助
个人中心
登录/注册
详情
文本
图像
标题:
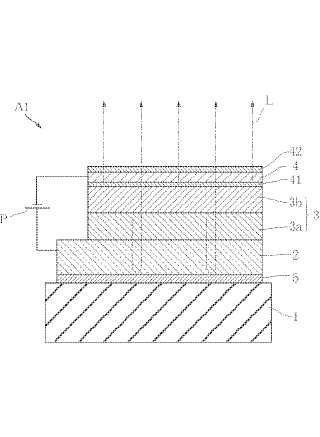
有機EL素子、これを用いた有機EL表示装置、および有機EL素子の製造方法
授权日:
1900-01-01
公开(公告)号:
JP2006344497A
申请日:
2005-06-09
公开(公告)日:
2006-12-21
当前申请(专利权)人:
ローム株式会社
发明人:
守分 政人 | 淵上 貴昭 | 加藤 弘樹 | 下地 規之
简单同族:
CN101194378A | JP2006344497A | JP4699098B2 | KR1020080010455A | TW200708195A | US20090102358A1 | US8018137 | WO2006132226A1
简单同族成员数量:
8
简单同族被引用专利总数:
99
诉讼案件数:
0
法律状态/事件:
授权