首页
专利数据库
产业人才
行业动态
产业政策法规
维权援助
个人中心
登录/注册
详情
文本
图像
标题:
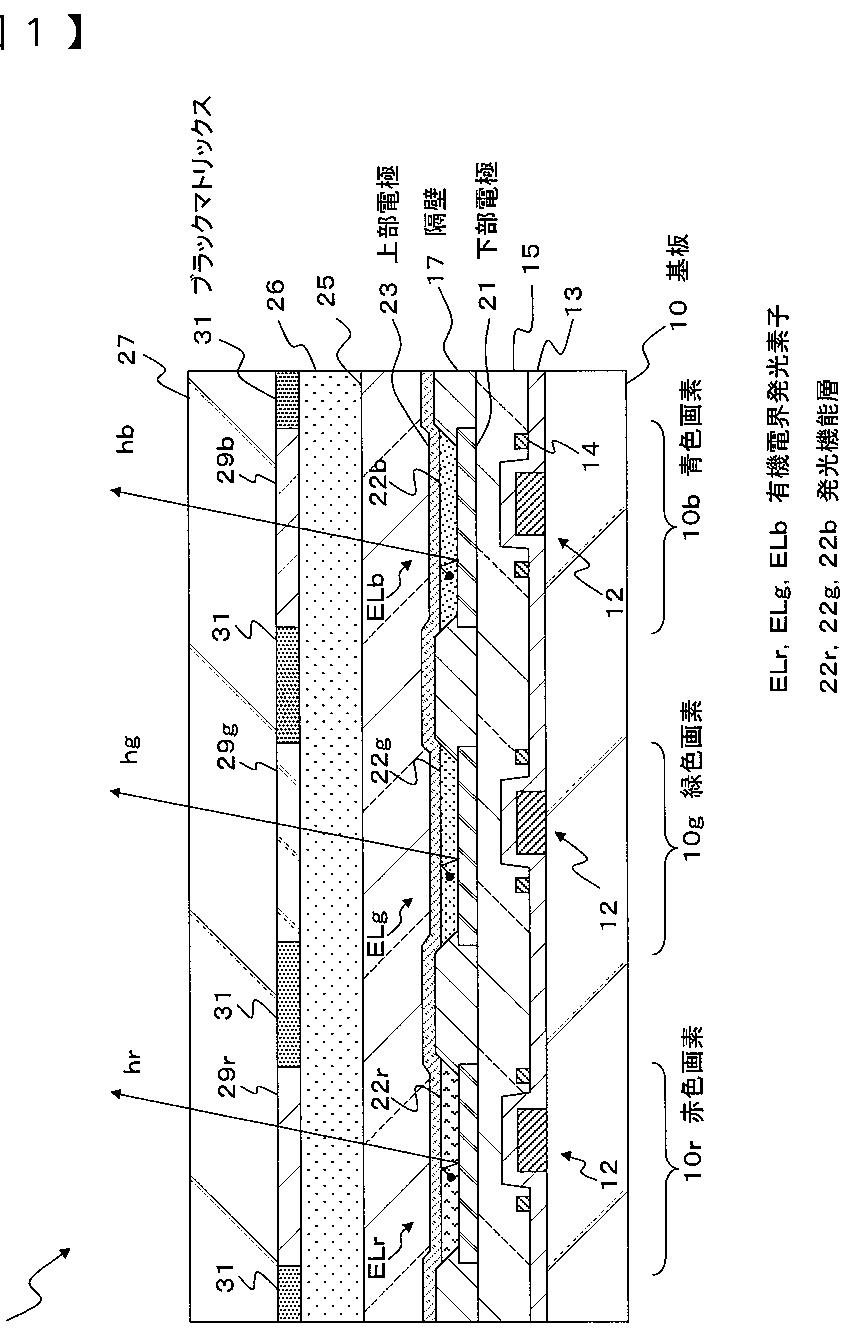
表示装置および電子機器
授权日:
2012-01-06
公开(公告)号:
JP4893392B2
申请日:
2007-03-15
公开(公告)日:
2012-03-07
当前申请(专利权)人:
ソニー株式会社
发明人:
高木 昭綱 | 山田 二郎 | 福田 俊広
简单同族:
CN101267700A | CN101267700B | CN102931212A | CN102931212B | JP2008226747A | JP4893392B2 | US20080224963A1 | US20120243221A1 | US8198805 | US8773016
简单同族成员数量:
10
简单同族被引用专利总数:
61
诉讼案件数:
0
法律状态/事件:
授权 | 权利转移