首页
专利数据库
产业人才
行业动态
产业政策法规
维权援助
个人中心
登录/注册
详情
文本
图像
标题:
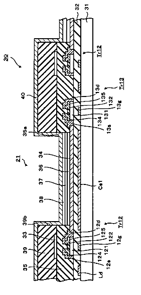
表示装置及び表示装置の製造方法
授权日:
1900-01-01
公开(公告)号:
JP2010161084A
申请日:
2010-04-02
公开(公告)日:
2010-07-22
当前申请(专利权)人:
カシオ計算機株式会社
发明人:
当山 忠久 | 白嵜 友之 | 澤野 智美 | 尾崎 剛
简单同族:
JP2010161084A
简单同族成员数量:
1
简单同族被引用专利总数:
0
诉讼案件数:
0
法律状态/事件:
驳回