首页
专利数据库
产业人才
行业动态
产业政策法规
维权援助
个人中心
登录/注册
详情
文本
图像
标题:
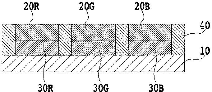
クマリン化合物を含有してなるフィルム、クマリン化合物とマトリクスを含む色変換層、該色変換層を含む色変換フィルタ、補色層、補色フィルタならびに多色発光デバイス
授权日:
1900-01-01
公开(公告)号:
JP2007273440A
申请日:
2006-09-04
公开(公告)日:
2007-10-18
当前申请(专利权)人:
株式会社ADEKA
发明人:
矢野 亨 | 岡田 光裕 | 金井 直之 | 川口 剛司
简单同族:
JP2007273440A | JP5221859B2
简单同族成员数量:
2
简单同族被引用专利总数:
102
诉讼案件数:
0
法律状态/事件:
未缴年费 | 权利转移