首页
专利数据库
产业人才
行业动态
产业政策法规
维权援助
个人中心
登录/注册
详情
文本
图像
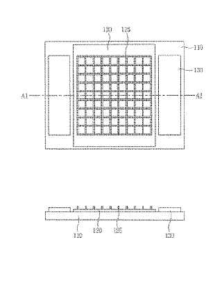
标题:
電界発光パネル及びそれを含む光源装置
授权日:
1900-01-01
公开(公告)号:
JP2008103305A
申请日:
2007-02-19
公开(公告)日:
2008-05-01
当前申请(专利权)人:
エルジー エレクトロニクス インコーポレーテッド
发明人:
イルホ リ
简单同族:
CN101165941A | CN101165941B | EP1914816A2 | JP2008103305A | KR100811473B1 | US20080088227A1
简单同族成员数量:
6
简单同族被引用专利总数:
89
诉讼案件数:
0
法律状态/事件:
驳回