标题:
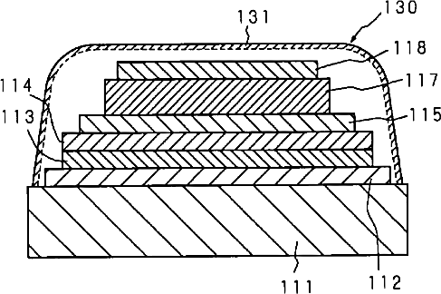
有機電界発光表示素子の製造方法、及び有機電界発光表示素子
授权日:
1900-01-01
公开(公告)号:
JP2003007454A
申请日:
2001-12-13
公开(公告)日:
2003-01-10
当前申请(专利权)人:
ダエウー エレクトロニクス サービス コーポレーション リミテッド
发明人:
崔 道鉉 | 崔 京姫
简单同族:
CN100499202C | CN1516988A | EP1410692A1 | EP1410692A4 | EP1410692B1 | JP2003007454A | JP2003007454A5 | JP4401051B2 | TWI237514B | US20030003225A1 | US6692326 | WO2002104077A1
简单同族成员数量:
12
简单同族被引用专利总数:
65
诉讼案件数:
0
法律状态/事件:
未缴年费 | 权利转移