首页
专利数据库
产业人才
行业动态
产业政策法规
维权援助
个人中心
登录/注册
详情
文本
图像
标题:
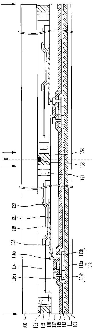
有機電界発光表示装置及びその製造方法
授权日:
1900-01-01
公开(公告)号:
JP2007200846A
申请日:
2006-07-19
公开(公告)日:
2007-08-09
当前申请(专利权)人:
三星モバイルディスプレイ株式會社
发明人:
李 鐘禹
简单同族:
CN100524802C | CN101009299A | EP1814157A2 | EP1814157A3 | JP2007200846A | JP4463789B2 | KR100671639B1 | TW200729479A | TWI321848B | US20070177069A1 | US7821197
简单同族成员数量:
11
简单同族被引用专利总数:
93
诉讼案件数:
0
法律状态/事件:
授权 | 权利转移