首页
专利数据库
产业人才
行业动态
产业政策法规
维权援助
个人中心
登录/注册
详情
文本
图像
标题:
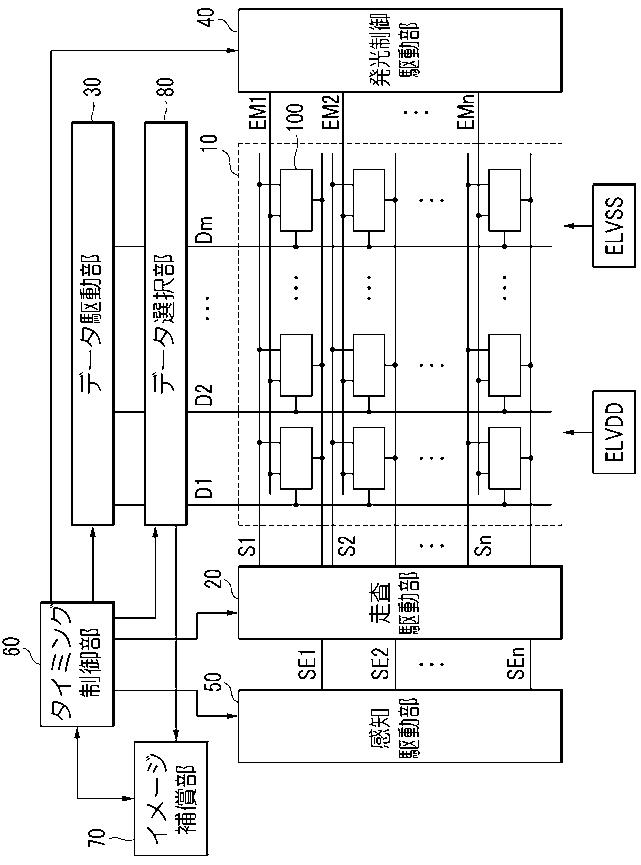
有機発光表示装置及びその駆動方法
授权日:
1900-01-01
公开(公告)号:
JP2011237754A
申请日:
2010-09-09
公开(公告)日:
2011-11-24
当前申请(专利权)人:
三星ディスプレイ株式會社
发明人:
古宮 直明 | 呉 春 烈 | 鄭 晧 錬 | 柳 明 煥 | 鄭 柱 ▲眩▼ | 李 王 棗 | 崔 仁 豪 | 玄 昌 鎬 | 金 雄
简单同族:
CN102243839A | CN102243839B | JP2011237754A | JP6080286B2 | KR101223488B1 | KR1020110124656A | TW201214390A | TWI547924B | US20110279437A1
简单同族成员数量:
9
简单同族被引用专利总数:
65
诉讼案件数:
0
法律状态/事件:
授权 | 权利转移