首页
专利数据库
产业人才
行业动态
产业政策法规
维权援助
个人中心
登录/注册
详情
文本
图像
标题:
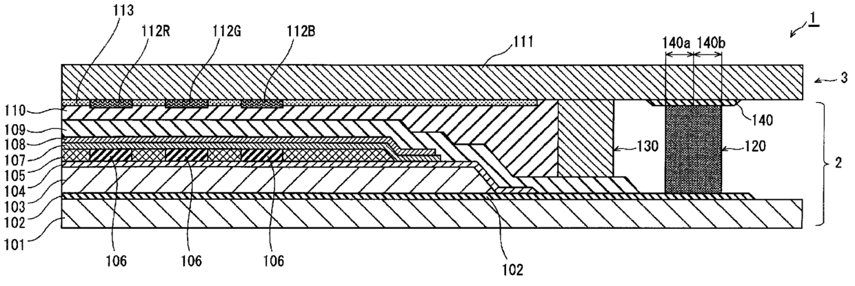
显示面板及其制造方法
授权日:
2015-09-02
公开(公告)号:
CN102754524B
申请日:
2011-07-19
公开(公告)日:
2015-09-02
当前申请(专利权)人:
株式会社日本有机雷特显示器
发明人:
增田裕之
简单同族:
CN102754524A | CN102754524B | JP5620492B2 | JPWO2012011268A1 | KR101401177B1 | KR1020120105537A | US20120287026A1 | US8884849 | WO2012011268A1
简单同族成员数量:
9
简单同族被引用专利总数:
115
诉讼案件数:
0
法律状态/事件:
授权 | 权利转移