首页
专利数据库
产业人才
行业动态
产业政策法规
维权援助
个人中心
登录/注册
详情
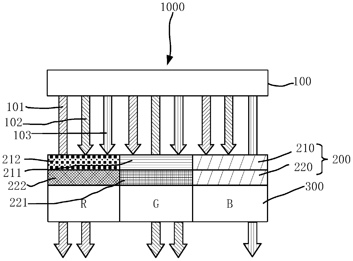
文本
图像
标题:
白光有机发光二极管显示装置及其制造方法
授权日:
1900-01-01
公开(公告)号:
CN109817686A
申请日:
2019-01-18
公开(公告)日:
2019-05-28
当前申请(专利权)人:
深圳市华星光电技术有限公司
发明人:
查宝
简单同族:
CN109817686A
简单同族成员数量:
1
简单同族被引用专利总数:
0
诉讼案件数:
0
法律状态/事件:
实质审查