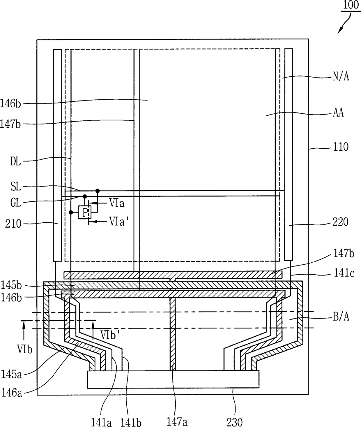
标题:
柔性显示装置及其制造方法
授权日:
1900-01-01
公开(公告)号:
CN104752485A
申请日:
2014-12-24
公开(公告)日:
2015-07-01
当前申请(专利权)人:
乐金显示有限公司
发明人:
李浩荣 | 姜昌宪
简单同族:
CN104752485A | CN104752485B | CN108109529A | CN108109529B | CN108520893A | EP2889866A2 | EP2889866A3 | EP2889866B1 | EP3496082A1 | KR1020150079206A | KR102086644B1 | US10679567 | US10692442 | US20150187279A1 | US20180012551A1 | US20180068621A1 | US9786229
简单同族成员数量:
17
简单同族被引用专利总数:
65
诉讼案件数:
0
法律状态/事件:
授权