首页
专利数据库
产业人才
行业动态
产业政策法规
维权援助
个人中心
登录/注册
详情
文本
图像
标题:
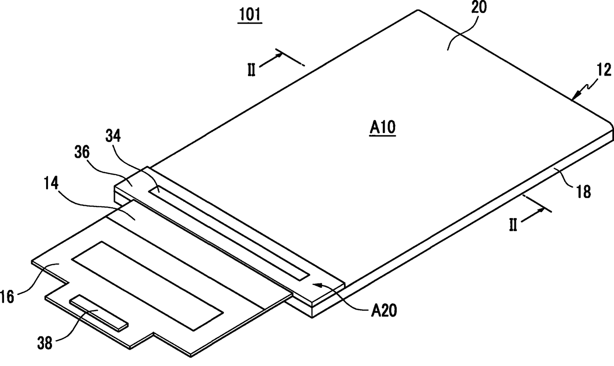
有机发光二极管显示器
授权日:
1900-01-01
公开(公告)号:
CN102157543A
申请日:
2011-01-04
公开(公告)日:
2011-08-17
当前申请(专利权)人:
三星显示有限公司
发明人:
金素延 | 韩盛旭 | 韩东垣 | 郭镇浩 | 金孝真
简单同族:
CN102157543A | CN102157543B | DE102010064378A1 | JP2011138748A | JP2014179335A | JP6072724B2 | KR101155904B1 | KR1020110080050A | TW201208172A | TWI455386B | US20110163330A1 | US20130037792A1 | US8735936
简单同族成员数量:
13
简单同族被引用专利总数:
93
诉讼案件数:
0
法律状态/事件:
授权