首页
专利数据库
产业人才
行业动态
产业政策法规
维权援助
个人中心
登录/注册
详情
文本
图像
标题:
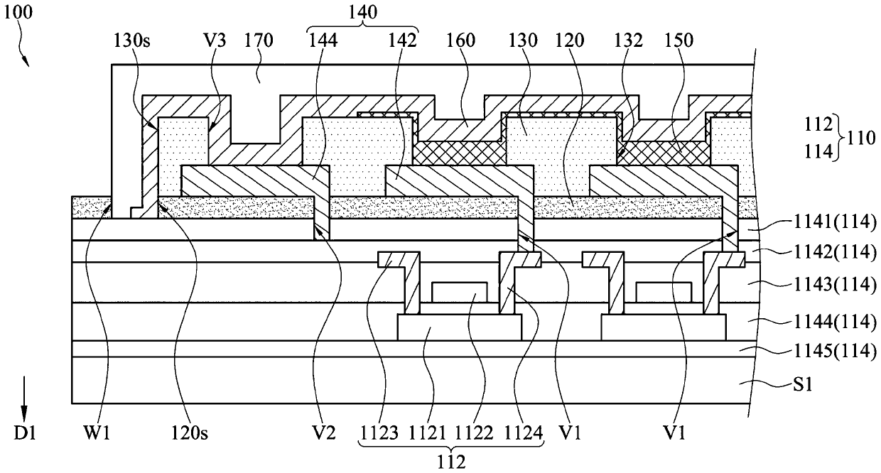
有机发光显示器
授权日:
1900-01-01
公开(公告)号:
CN110233168A
申请日:
2019-06-19
公开(公告)日:
2019-09-13
当前申请(专利权)人:
友达光电股份有限公司
发明人:
柯聪盈 | 郑贵宁 | 胡克龙 | 林立峯 | 陈钰琪 | 林恭正 | 马健凯 | 王品凡
简单同族:
CN110233168A
简单同族成员数量:
1
简单同族被引用专利总数:
0
诉讼案件数:
0
法律状态/事件:
实质审查