首页
专利数据库
产业人才
行业动态
产业政策法规
维权援助
个人中心
登录/注册
详情
文本
图像
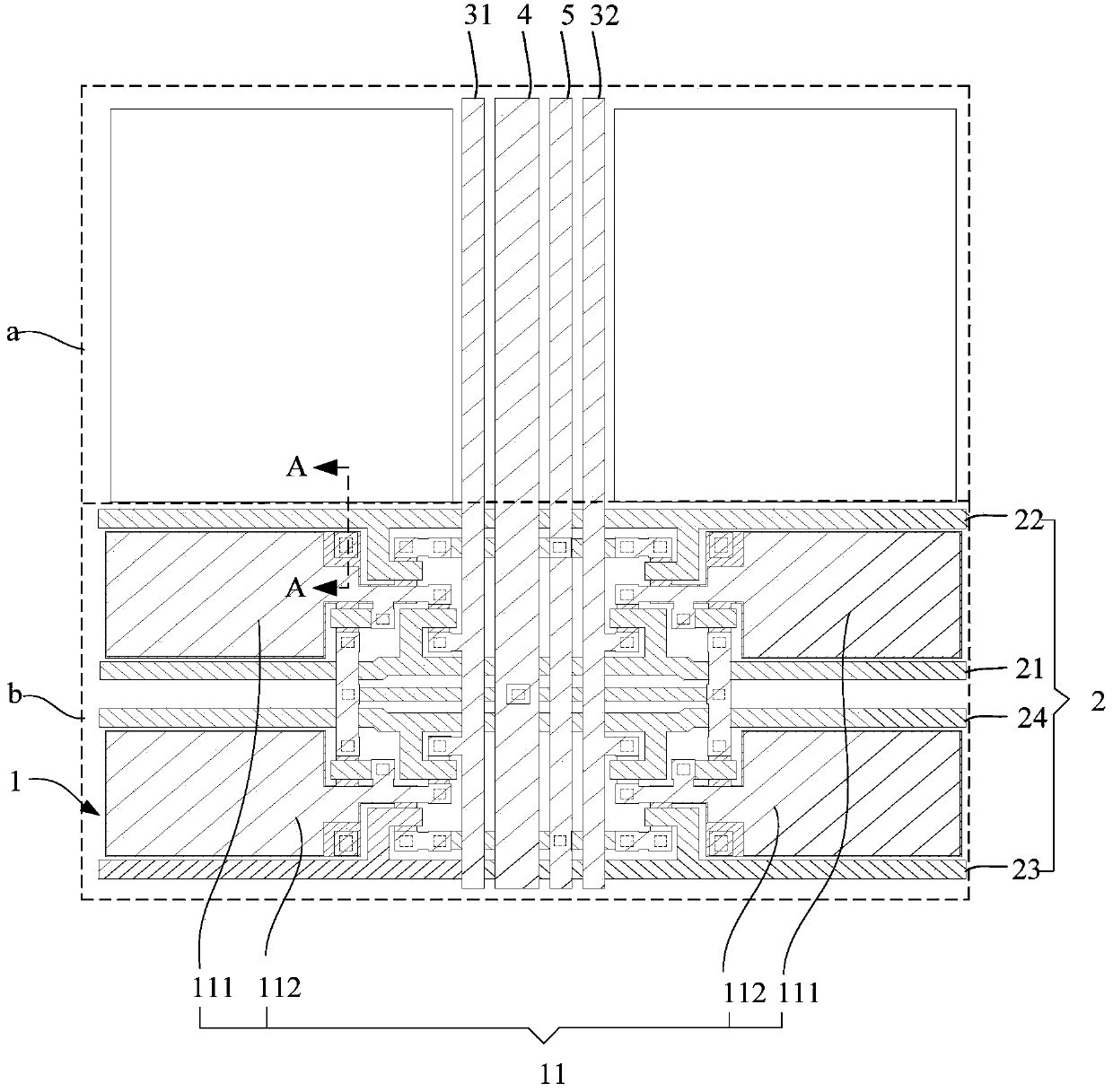
标题:
透明OLED显示面板、显示装置和驱动方法
授权日:
1900-01-01
公开(公告)号:
CN110718575A
申请日:
2019-10-22
公开(公告)日:
2020-01-21
当前申请(专利权)人:
京东方科技集团股份有限公司 | 合肥鑫晟光电科技有限公司
发明人:
李蒙 | 李永谦 | 孟松 | 袁粲 | 袁志东
简单同族:
CN110718575A
简单同族成员数量:
1
简单同族被引用专利总数:
0
诉讼案件数:
0
法律状态/事件:
实质审查