首页
专利数据库
产业人才
行业动态
产业政策法规
维权援助
个人中心
登录/注册
详情
文本
图像
标题:
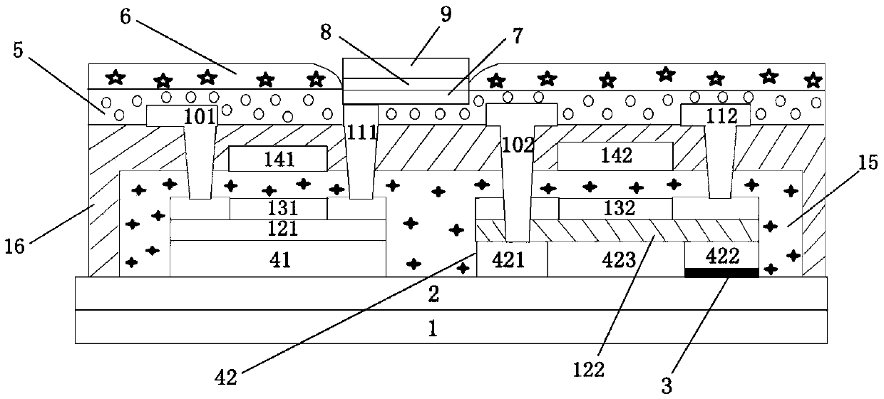
一种有机发光显示面板及其制造方法
授权日:
1900-01-01
公开(公告)号:
CN109686774A
申请日:
2019-01-04
公开(公告)日:
2019-04-26
当前申请(专利权)人:
京东方科技集团股份有限公司
发明人:
高宇鹏 | 王利忠 | 赵磊 | 杜建华 | 强朝辉 | 李超 | 刘松 | 李士佩 | 王治
简单同族:
CN109686774A
简单同族成员数量:
1
简单同族被引用专利总数:
0
诉讼案件数:
0
法律状态/事件:
实质审查