首页
专利数据库
产业人才
行业动态
产业政策法规
维权援助
个人中心
登录/注册
详情
文本
图像
标题:
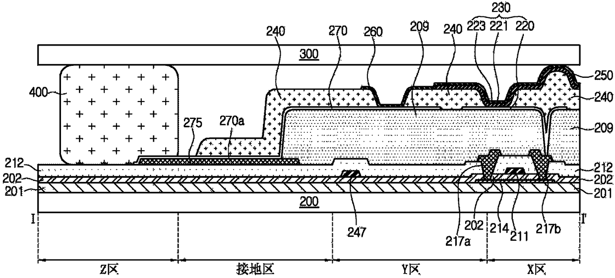
有机发光显示装置及其制造方法
授权日:
1900-01-01
公开(公告)号:
CN102969456A
申请日:
2011-12-30
公开(公告)日:
2013-03-13
当前申请(专利权)人:
乐金显示有限公司
发明人:
崔熙东 | 田承峻
简单同族:
CN102969456A | CN102969456B | KR101463650B1 | KR1020130024090A | US20130049003A1 | US20150270513A1 | US9076745 | US9362533
简单同族成员数量:
8
简单同族被引用专利总数:
65
诉讼案件数:
0
法律状态/事件:
授权