首页
专利数据库
产业人才
行业动态
产业政策法规
维权援助
个人中心
登录/注册
详情
文本
图像
标题:
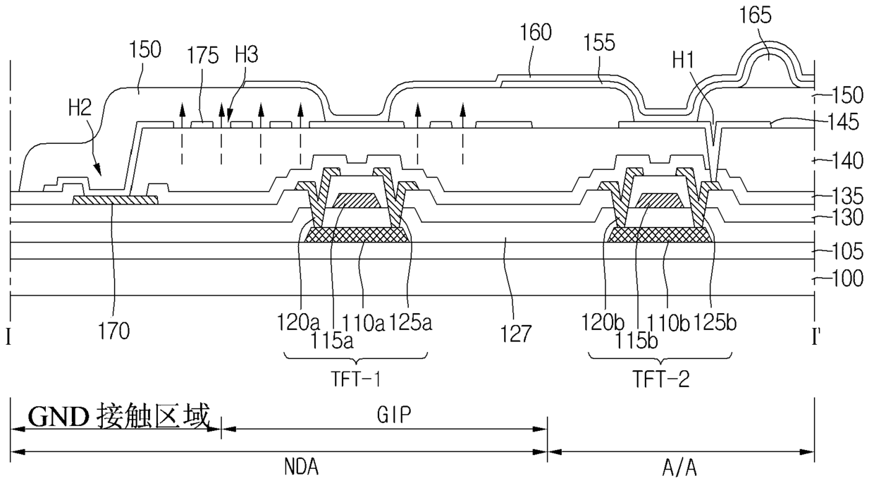
有机发光二极管显示器及其制造方法
授权日:
2016-02-03
公开(公告)号:
CN103022371B
申请日:
2012-09-19
公开(公告)日:
2016-02-03
当前申请(专利权)人:
乐金显示有限公司
发明人:
崔熙东
简单同族:
CN103022371A | CN103022371B | JP2013068951A | JP2016006516A | JP6336418B2 | KR101521676B1 | KR1020130031101A | US10374027 | US20130069853A1 | US20160315135A1 | US20180083087A1 | US9412801 | US9881987
简单同族成员数量:
13
简单同族被引用专利总数:
63
诉讼案件数:
0
法律状态/事件:
授权