首页
专利数据库
产业人才
行业动态
产业政策法规
维权援助
个人中心
登录/注册
详情
文本
图像
标题:
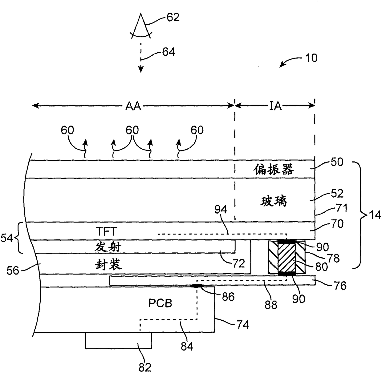
窄边框有机发光二极管显示器
授权日:
1900-01-01
公开(公告)号:
CN103594485A
申请日:
2013-08-14
公开(公告)日:
2014-02-19
当前申请(专利权)人:
苹果公司
发明人:
D·C·马修 | A·T·加勒丽 | P·S·德瑞扎伊 | 陈伟 | B·W·德格纳 | B·W·波斯纳
简单同族:
CN103594485A | CN103594485B | KR101484852B1 | KR1020140023223A | TW201409685A | TWI580030B | US20140049522A1 | US20160079337A1 | US20170062547A1 | US9214507 | US9515131 | US9780159
简单同族成员数量:
12
简单同族被引用专利总数:
97
诉讼案件数:
0
法律状态/事件:
授权