首页
专利数据库
产业人才
行业动态
产业政策法规
维权援助
个人中心
登录/注册
详情
文本
图像
标题:
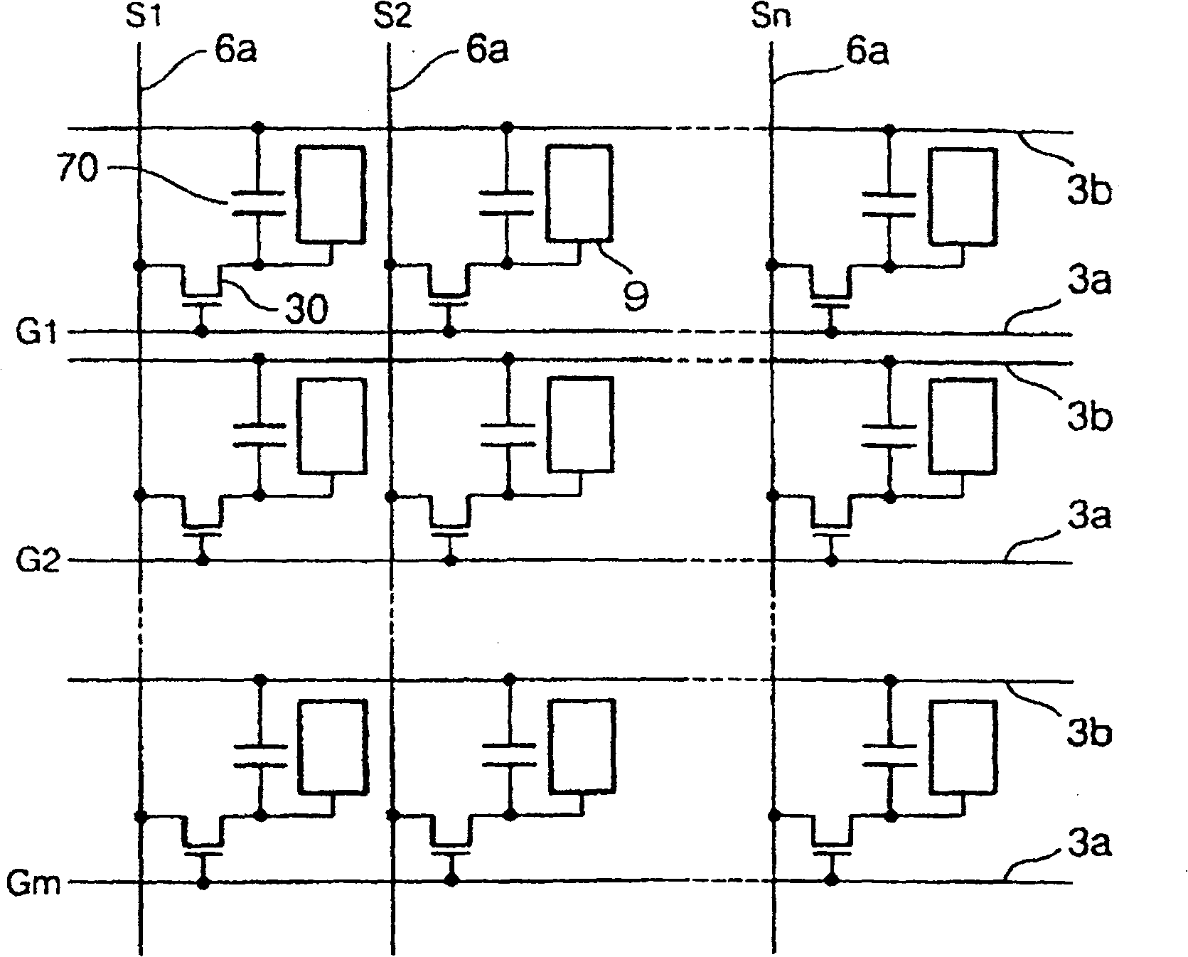
液晶显示装置以及电子设备
授权日:
2008-10-22
公开(公告)号:
CN100428011C
申请日:
2004-03-08
公开(公告)日:
2008-10-22
当前申请(专利权)人:
京东方科技集团股份有限公司
发明人:
奥村治
简单同族:
CN100428011C | CN1530695A | JP2004279566A | JP3849659B2 | KR100683371B1 | KR1020040081360A | TW200424621A | TWI257498B | US20040227876A1 | US7126657
简单同族成员数量:
10
简单同族被引用专利总数:
78
诉讼案件数:
0
法律状态/事件:
授权 | 权利转移