首页
专利数据库
产业人才
行业动态
产业政策法规
维权援助
个人中心
登录/注册
详情
文本
图像
标题:
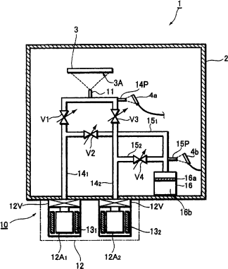
成膜源、成膜装置及方法、有机EL面板及其制造方法
授权日:
2008-12-24
公开(公告)号:
CN100446300C
申请日:
2005-03-14
公开(公告)日:
2008-12-24
当前申请(专利权)人:
日本东北先锋公司
发明人:
安彦浩志 | 增田大辅 | 梅津茂裕
简单同族:
CN100446300C | CN1678143A | DE602005007648D1 | EP1584705A1 | EP1584705B1 | JP2005281808A | JP4366226B2 | KR1020060043241A | TW200532046A | US20050217584A1 | US20070292610A1
简单同族成员数量:
11
简单同族被引用专利总数:
131
诉讼案件数:
0
法律状态/事件:
未缴年费