首页
专利数据库
产业人才
行业动态
产业政策法规
维权援助
个人中心
登录/注册
详情
文本
图像
标题:
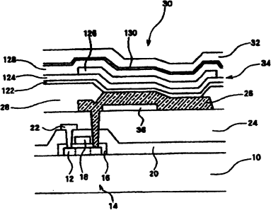
有机EL显示面板
授权日:
2008-11-26
公开(公告)号:
CN100438068C
申请日:
2006-02-28
公开(公告)日:
2008-11-26
当前申请(专利权)人:
三洋电机株式会社
发明人:
西川龙司 | 小村哲司 | 中井正也
简单同族:
CN100438068C | CN1832195A | JP2006236947A | JP4573672B2 | KR1020060095494A | TW200631466A | TWI336212B | US20060192220A1 | US20120112234A1 | US8129712
简单同族成员数量:
10
简单同族被引用专利总数:
74
诉讼案件数:
0
法律状态/事件:
授权