首页
专利数据库
产业人才
行业动态
产业政策法规
维权援助
个人中心
登录/注册
详情
文本
图像
标题:
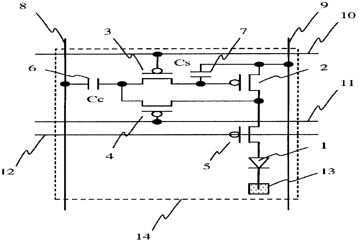
使用电容器耦合式光发射控制晶体管的显示装置
授权日:
1900-01-01
公开(公告)号:
CN102396020A
申请日:
2010-04-13
公开(公告)日:
2012-03-28
当前申请(专利权)人:
全球OLED科技有限责任公司
发明人:
川边和佳
简单同族:
CN102396020A | EP2419895A1 | EP2419895A4 | JP2010249955A | KR1020110139764A | TW201044354A | US20120113085A1 | US8736525 | WO2010120733A1
简单同族成员数量:
9
简单同族被引用专利总数:
67
诉讼案件数:
0
法律状态/事件:
撤回