首页
专利数据库
产业人才
行业动态
产业政策法规
维权援助
个人中心
登录/注册
详情
文本
图像
标题:
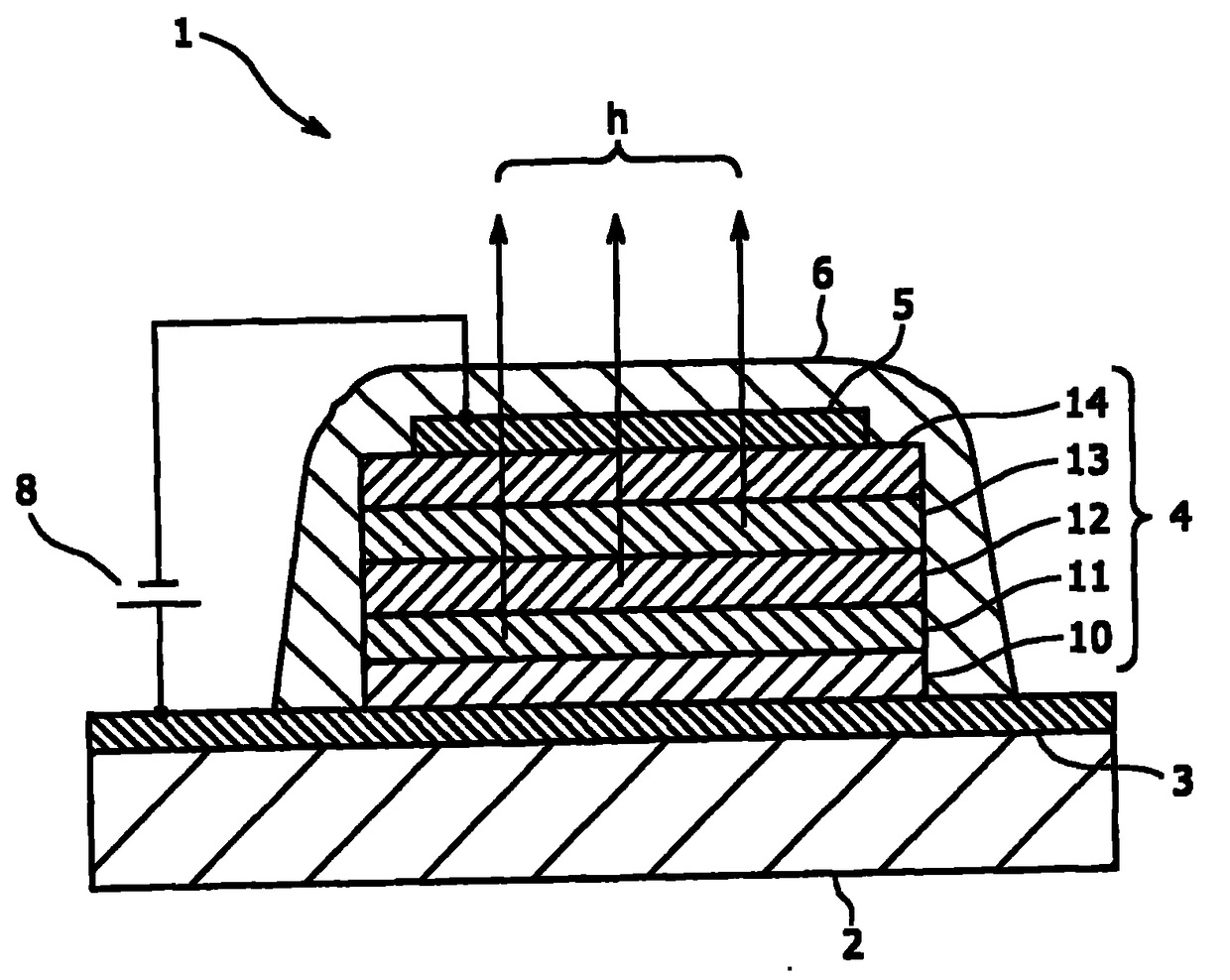
有机电致发光器件和显示器
授权日:
2011-08-10
公开(公告)号:
CN1846460B
申请日:
2004-08-11
公开(公告)日:
2011-08-10
当前申请(专利权)人:
株式会社日本有机雷特显示器
发明人:
柏原充宏 | 松浦亮子
简单同族:
CN1846460A | CN1846460B | EP1662844A1 | EP1662844A4 | EP1662844B1 | JP2005071735A | JP4123106B2 | KR101108213B1 | KR1020060056378A | TW200513992A | TWI293436B | US20060238113A1 | US8072135 | WO2005027585A1
简单同族成员数量:
14
简单同族被引用专利总数:
68
诉讼案件数:
0
法律状态/事件:
授权 | 权利转移