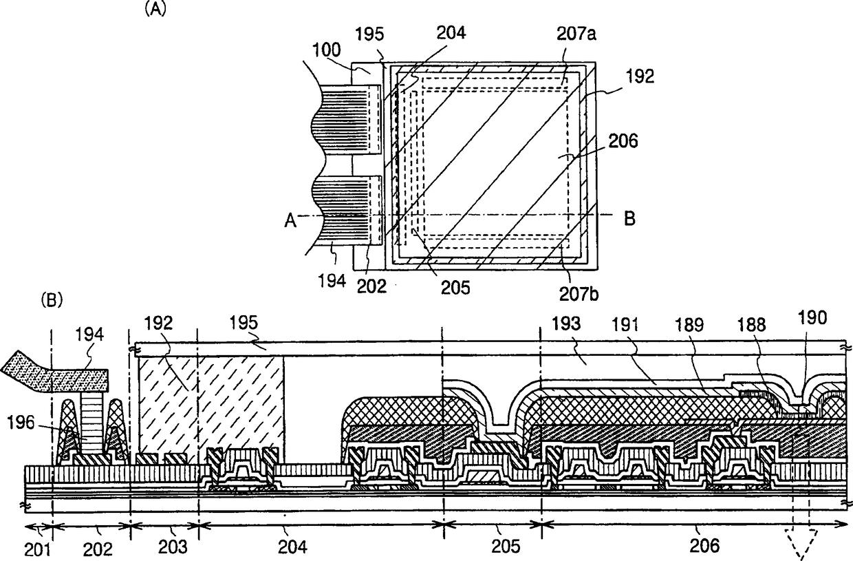
标题:
显示器件及其制造方法
授权日:
2013-01-02
公开(公告)号:
CN101673758B
申请日:
2005-09-15
公开(公告)日:
2013-01-02
当前申请(专利权)人:
株式会社半导体能源研究所
发明人:
村上智史 | 大谷久 | 山崎舜平
简单同族:
CN100551179C | CN101673758A | CN101673758B | CN1750719A | JP2012084530A | JP2013061663A | JP2013083993A | JP2013083993A5 | JP2014067043A | JP2015065175A | JP2016040777A | JP2017004970A | JP2017228543A | JP2019125580A | JP5244958B2 | JP5347059B2 | JP5728559B2 | JP5918834B2 | JP6085018B2 | JP6280963B2 | JP6612824B2 | JP6715974B2 | KR101256357B1 | KR101266023B1 | KR1020060051388A | KR1020130007513A | US10096795 | US20060202615A1 | US20130134401A1 | US20170069872A1 | US8350466 | US9444069
简单同族成员数量:
32
简单同族被引用专利总数:
105
诉讼案件数:
0
法律状态/事件:
授权