标题:
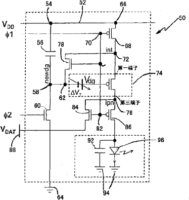
像素电路
授权日:
1900-01-01
公开(公告)号:
CN1664901A
申请日:
2005-03-04
公开(公告)日:
2005-09-07
当前申请(专利权)人:
精工爱普生株式会社
发明人:
西蒙·塔姆
简单同族:
CN100498902C | CN1664901A | DE602005006337D1 | DE602005006337T2 | EP1580722A2 | EP1580722A3 | EP1580722B1 | GB0404919D0 | GB2411758A | JP2005258436A | JP2005301290A | JP2009015345A | JP4289311B2 | JP4289321B2 | JP4697281B2 | KR100713679B1 | KR1020060043376A | TW200603048A | TWI277931B | US20050237281A1 | US7528808
简单同族成员数量:
21
简单同族被引用专利总数:
88
诉讼案件数:
0
法律状态/事件:
未缴年费