首页
专利数据库
产业人才
行业动态
产业政策法规
维权援助
个人中心
登录/注册
详情
文本
图像
标题:
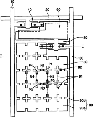
有机发光显示器及其制造方法
授权日:
2009-05-13
公开(公告)号:
CN100488325C
申请日:
2006-08-30
公开(公告)日:
2009-05-13
当前申请(专利权)人:
三星显示有限公司
发明人:
金恩雅
简单同族:
CN100488325C | CN1925702A | JP2007066904A | KR100721948B1 | KR1020070024810A | US20070046186A1 | US7839077
简单同族成员数量:
7
简单同族被引用专利总数:
69
诉讼案件数:
0
法律状态/事件:
授权 | 权利转移