首页
专利数据库
产业人才
行业动态
产业政策法规
维权援助
个人中心
登录/注册
详情
文本
图像
标题:
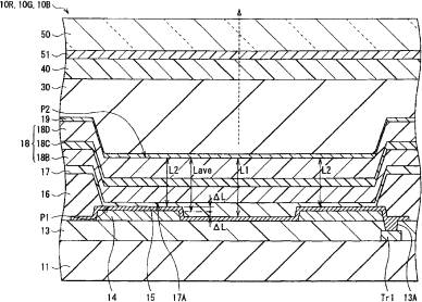
显示器件和显示单元
授权日:
1900-01-01
公开(公告)号:
CN101013745A
申请日:
2007-02-05
公开(公告)日:
2007-08-08
当前申请(专利权)人:
索尼株式会社
发明人:
浅木玲生 | 藤冈弘文 | 广升泰信
简单同族:
CN101013745A | CN101013745B | JP2007234581A | JP4645587B2 | KR101376427B1 | KR1020070079946A | TW200746878A | TWI376976B | US20080143649A1 | US20100265223A1 | US8368617 | US8462084
简单同族成员数量:
12
简单同族被引用专利总数:
105
诉讼案件数:
0
法律状态/事件:
授权