首页
专利数据库
产业人才
行业动态
产业政策法规
维权援助
个人中心
登录/注册
详情
文本
图像
标题:
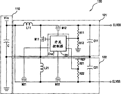
具有DC-DC转换器的有机发光显示器
授权日:
2010-06-09
公开(公告)号:
CN101231818B
申请日:
2008-01-10
公开(公告)日:
2010-06-09
当前申请(专利权)人:
三星显示有限公司
发明人:
朴星千
简单同族:
CN101231818A | CN101231818B | EP1951005A1 | EP1951005B1 | JP2008176306A | JP5323345B2 | KR100833764B1 | TW200844950A | TWI369664B | US20080174287A1 | US8334824
简单同族成员数量:
11
简单同族被引用专利总数:
125
诉讼案件数:
0
法律状态/事件:
授权 | 权利转移