标题:
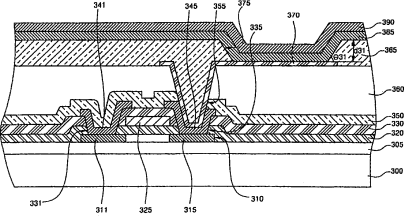
有机发光显示器
授权日:
1900-01-01
公开(公告)号:
CN101221977A
申请日:
2004-11-05
公开(公告)日:
2008-07-16
当前申请(专利权)人:
三星显示有限公司
发明人:
金茂显 | 宋明原 | 姜泰旻 | 李城宅 | 曹洧诚
简单同族:
CN100448055C | CN101221977A | CN101221977B | CN1622708A | DE602004025078D1 | EP1536494A2 | EP1536494A3 | EP1536494B1 | EP1919007A2 | EP1919007A3 | EP1919007B1 | JP2005165324A | JP2008047540A | KR100611159B1 | KR1020050052301A | US20050116631A1 | US7501756
简单同族成员数量:
17
简单同族被引用专利总数:
81
诉讼案件数:
0
法律状态/事件:
授权 | 权利转移