首页
专利数据库
产业人才
行业动态
产业政策法规
维权援助
个人中心
登录/注册
详情
文本
图像
标题:
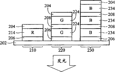
全彩电致发光显示器
授权日:
1900-01-01
公开(公告)号:
CN1615059A
申请日:
2004-11-01
公开(公告)日:
2005-05-11
当前申请(专利权)人:
友达光电股份有限公司
发明人:
宋朝钦
简单同族:
CN1615059A | JP2005317548A | TW200536429A | TWI235619B | US20050242712A1
简单同族成员数量:
5
简单同族被引用专利总数:
64
诉讼案件数:
0
法律状态/事件:
撤回