首页
专利数据库
产业人才
行业动态
产业政策法规
维权援助
个人中心
登录/注册
详情
文本
图像
标题:
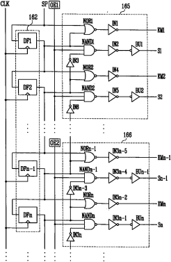
扫描驱动器、有机发光显示器和驱动有机发光显示器的方法
授权日:
1900-01-01
公开(公告)号:
CN1855200A
申请日:
2006-04-04
公开(公告)日:
2006-11-01
当前申请(专利权)人:
三星显示有限公司
发明人:
崔相武
简单同族:
CN1855200A | CN1855200B | DE602006014615D1 | EP1717790A2 | EP1717790A3 | EP1717790A8 | EP1717790B1 | JP2006309217A | JP4504939B2 | KR100645700B1 | KR1020060112994A | US20060248421A1 | US8125422
简单同族成员数量:
13
简单同族被引用专利总数:
75
诉讼案件数:
0
法律状态/事件:
授权 | 权利转移