首页
专利数据库
产业人才
行业动态
产业政策法规
维权援助
个人中心
登录/注册
详情
文本
图像
标题:
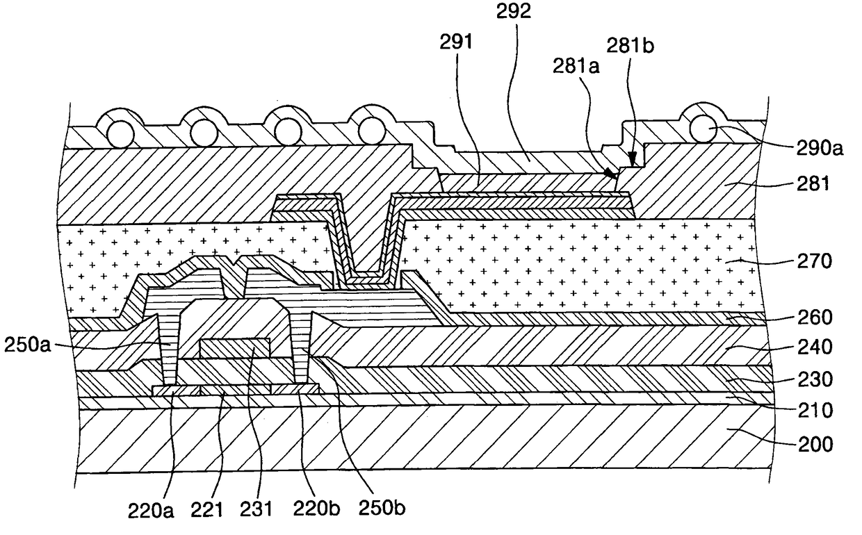
有机发光二极管显示装置及其制造方法
授权日:
2011-05-04
公开(公告)号:
CN101556991B
申请日:
2009-01-22
公开(公告)日:
2011-05-04
当前申请(专利权)人:
三星显示有限公司
发明人:
权正铉
简单同族:
CN101556991A | CN101556991B | EP2086007A1 | EP2086007B1 | JP2009182320A | KR100924137B1 | KR1020090084202A | US20090194780A1 | US8039839
简单同族成员数量:
9
简单同族被引用专利总数:
64
诉讼案件数:
0
法律状态/事件:
授权 | 权利转移