首页
专利数据库
产业人才
行业动态
产业政策法规
维权援助
个人中心
登录/注册
详情
文本
图像
标题:
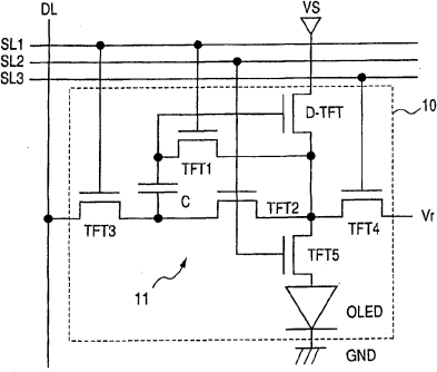
发光显示装置
授权日:
1900-01-01
公开(公告)号:
CN101563720A
申请日:
2007-12-12
公开(公告)日:
2009-10-21
当前申请(专利权)人:
佳能株式会社
发明人:
安部胜美
简单同族:
CN101563720A | CN101563720B | EP2095354A1 | JP2008176287A | JP5665256B2 | KR1020090094146A | US20100001983A1 | US8243055 | WO2008075697A1
简单同族成员数量:
9
简单同族被引用专利总数:
130
诉讼案件数:
0
法律状态/事件:
授权