首页
专利数据库
产业人才
行业动态
产业政策法规
维权援助
个人中心
登录/注册
详情
文本
图像
标题:
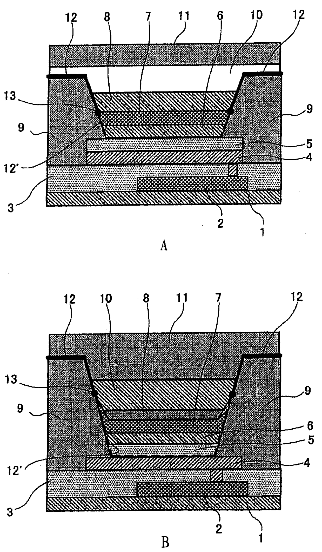
有机电致发光显示屏及其制造方法
授权日:
2015-12-02
公开(公告)号:
CN102742356B
申请日:
2009-02-10
公开(公告)日:
2015-12-02
当前申请(专利权)人:
株式会社日本有机雷特显示器
发明人:
中谷修平 | 高木清彦
简单同族:
CN102742356A | CN102742356B | EP2254394A1 | EP2254394A4 | JP2010097956A | JP4460643B2 | JP4547038B2 | JPWO2009113239A1 | KR100990262B1 | KR1020100051106A | US20100289728A1 | US8130177 | WO2009113239A1
简单同族成员数量:
13
简单同族被引用专利总数:
65
诉讼案件数:
0
法律状态/事件:
授权 | 权利转移