首页
专利数据库
产业人才
行业动态
产业政策法规
维权援助
个人中心
登录/注册
详情
文本
图像
标题:
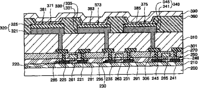
高效有机电致发光显示器及其制造方法
授权日:
1900-01-01
公开(公告)号:
CN1543284A
申请日:
2004-03-10
公开(公告)日:
2004-11-03
当前申请(专利权)人:
三星显示有限公司
发明人:
李宽熙 | 柳承润 | 李宪贞 | 朴商一 | 具在本
简单同族:
CN100459218C | CN1543284A | KR100527187B1 | KR1020040094119A | US20040217697A1 | US20060250074A1 | US7365488 | US7431626
简单同族成员数量:
8
简单同族被引用专利总数:
60
诉讼案件数:
0
法律状态/事件:
未缴年费 | 权利转移