首页
专利数据库
产业人才
行业动态
产业政策法规
维权援助
个人中心
登录/注册
详情
文本
图像
标题:
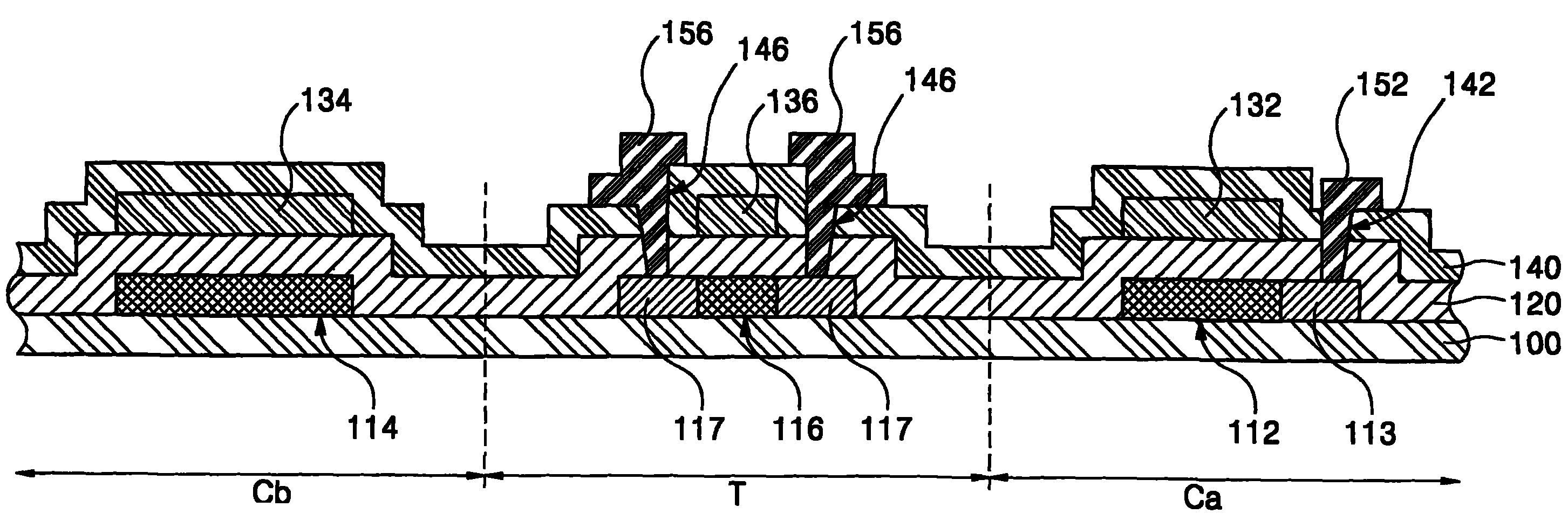
有机发光二极管显示装置及其制造方法
授权日:
2010-12-15
公开(公告)号:
CN101330094B
申请日:
2008-03-07
公开(公告)日:
2010-12-15
当前申请(专利权)人:
三星显示有限公司
发明人:
李在容 | 金阳完
简单同族:
CN101330094A | CN101330094B | EP2006904A2 | EP2006904A3 | EP2006904B1 | JP2009003405A | JP4989415B2 | KR100867926B1 | US20080315189A1 | US7696521
简单同族成员数量:
10
简单同族被引用专利总数:
67
诉讼案件数:
0
法律状态/事件:
授权 | 权利转移