首页
专利数据库
产业人才
行业动态
产业政策法规
维权援助
个人中心
登录/注册
详情
文本
图像
标题:
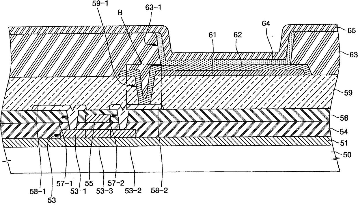
顶部发射型有机发光显示器件及其制造方法
授权日:
2012-07-25
公开(公告)号:
CN101667589B
申请日:
2005-03-11
公开(公告)日:
2012-07-25
当前申请(专利权)人:
三星显示有限公司
发明人:
徐昌秀 | 朴汶熙 | 姜泰旭 | 柳承润 | 李宽熙
简单同族:
CN100595943C | CN101667589A | CN101667589B | CN1668148A | JP2005259695A | JP4414358B2 | KR100579192B1 | KR1020050091261A | US20050230684A1 | US7741640
简单同族成员数量:
10
简单同族被引用专利总数:
85
诉讼案件数:
0
法律状态/事件:
授权 | 权利转移