首页
专利数据库
产业人才
行业动态
产业政策法规
维权援助
个人中心
登录/注册
详情
文本
图像
标题:
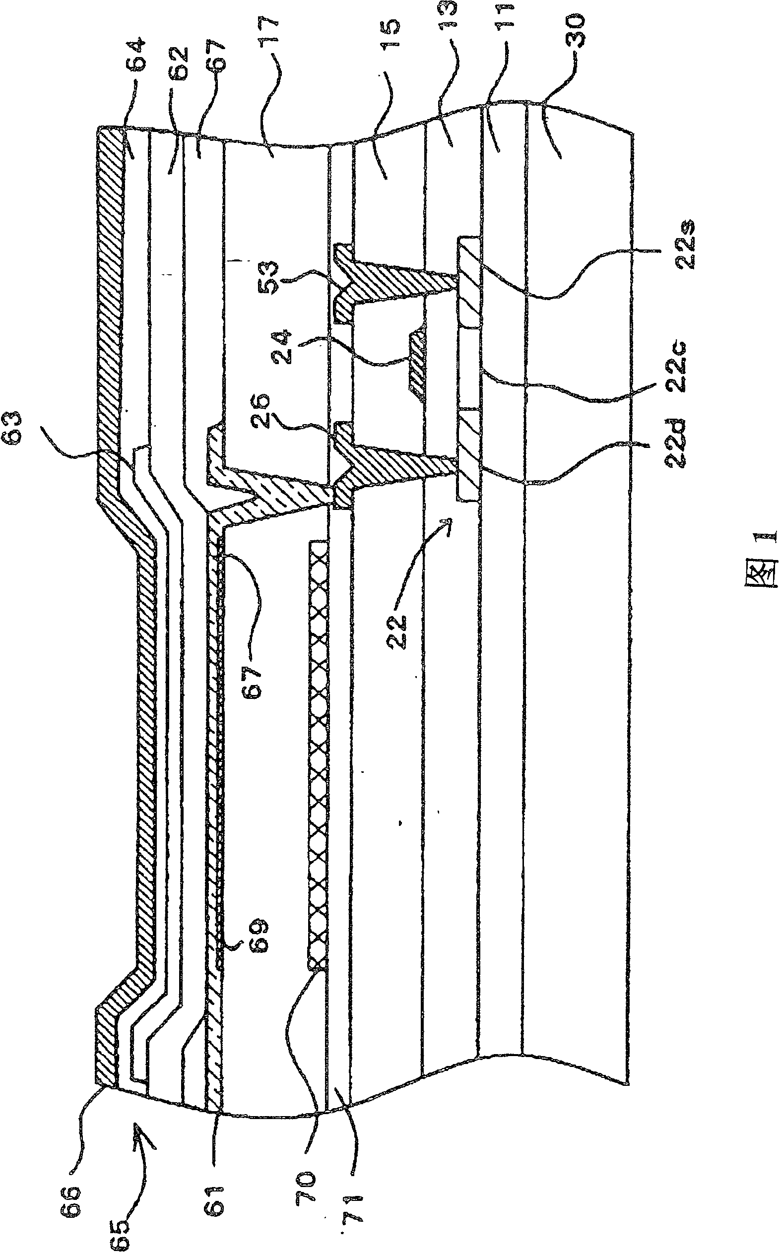
有机电致发光组件及有机电致发光显示面板
授权日:
2009-04-08
公开(公告)号:
CN100477872C
申请日:
2004-09-29
公开(公告)日:
2009-04-08
当前申请(专利权)人:
三洋电机株式会社
发明人:
西川龙司 | 小村哲司
简单同族:
CN100477872C | CN1604708A | JP2005129510A | JP2005129510A5 | JP4716699B2 | KR100784052B1 | KR1020050031922A | KR1020060125652A | TW200512691A | TWI249149B | US20050073230A1 | US20080297043A1 | US7531958 | US7839084
简单同族成员数量:
14
简单同族被引用专利总数:
125
诉讼案件数:
0
法律状态/事件:
授权