首页
专利数据库
产业人才
行业动态
产业政策法规
维权援助
个人中心
登录/注册
详情
文本
图像
标题:
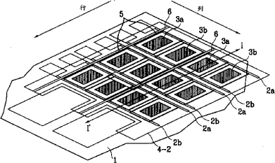
有机电致发光显示板
授权日:
1900-01-01
公开(公告)号:
CN1416302A
申请日:
2002-08-21
公开(公告)日:
2003-05-07
当前申请(专利权)人:
英迪股份有限公司
发明人:
金昌男
简单同族:
CN1207942C | CN1416302A | EP1286397A2 | EP1286397A3 | JP2003077685A | JP2008071770A | JP4287104B2 | JP4931783B2 | KR100404204B1 | KR1020030017696A | US20030038591A1 | US6930448
简单同族成员数量:
12
简单同族被引用专利总数:
64
诉讼案件数:
0
法律状态/事件:
未缴年费 | 权利转移