首页
专利数据库
产业人才
行业动态
产业政策法规
维权援助
个人中心
登录/注册
详情
文本
图像
标题:
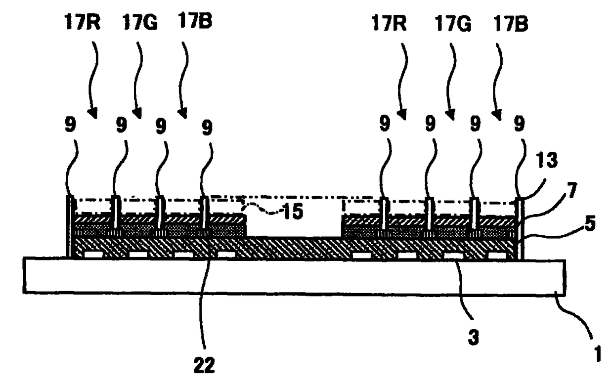
有机电致发光显示屏和其制造方法
授权日:
2012-05-23
公开(公告)号:
CN101543136B
申请日:
2008-05-21
公开(公告)日:
2012-05-23
当前申请(专利权)人:
株式会社日本有机雷特显示器
发明人:
吉田英博 | 北村嘉朗 | 山室景成
简单同族:
CN101543136A | CN101543136B | EP2151867A1 | EP2151867A4 | EP2151867B1 | JP2009187957A | JP4328384B2 | JP4374073B2 | JPWO2008149499A1 | KR100919352B1 | KR1020090020644A | US20090284135A1 | US7764014 | WO2008149499A1
简单同族成员数量:
14
简单同族被引用专利总数:
128
诉讼案件数:
0
法律状态/事件:
授权 | 权利转移