首页
专利数据库
产业人才
行业动态
产业政策法规
维权援助
个人中心
登录/注册
详情
文本
图像
标题:
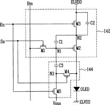
像素和使用该像素的有机发光显示装置
授权日:
1900-01-01
公开(公告)号:
CN101609839A
申请日:
2009-06-16
公开(公告)日:
2009-12-23
当前申请(专利权)人:
三星显示有限公司
发明人:
金阳完
简单同族:
CN101609839A | CN101609839B | EP2136352A1 | EP2136352B1 | JP2009301004A | JP5190386B2 | KR100962961B1 | KR1020090131042A | US20090309516A1 | US8049701
简单同族成员数量:
10
简单同族被引用专利总数:
80
诉讼案件数:
0
法律状态/事件:
授权 | 权利转移