首页
专利数据库
产业人才
行业动态
产业政策法规
维权援助
个人中心
登录/注册
详情
文本
图像
标题:
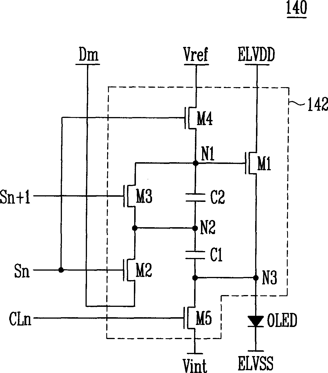
像素和使用这种像素的有机发光显示装置
授权日:
2013-08-14
公开(公告)号:
CN101866614B
申请日:
2010-03-02
公开(公告)日:
2013-08-14
当前申请(专利权)人:
三星显示有限公司
发明人:
姜哲圭 | 崔相武 | 金襟男
简单同族:
AT532167T | CN101866614A | CN101866614B | EP2242039A1 | EP2242039B1 | JP2010250260A | JP5074468B2 | KR101008482B1 | KR1020100115062A | US20100265166A1 | US8907870
简单同族成员数量:
11
简单同族被引用专利总数:
70
诉讼案件数:
0
法律状态/事件:
授权 | 权利转移