首页
专利数据库
产业人才
行业动态
产业政策法规
维权援助
个人中心
登录/注册
详情
文本
图像
标题:
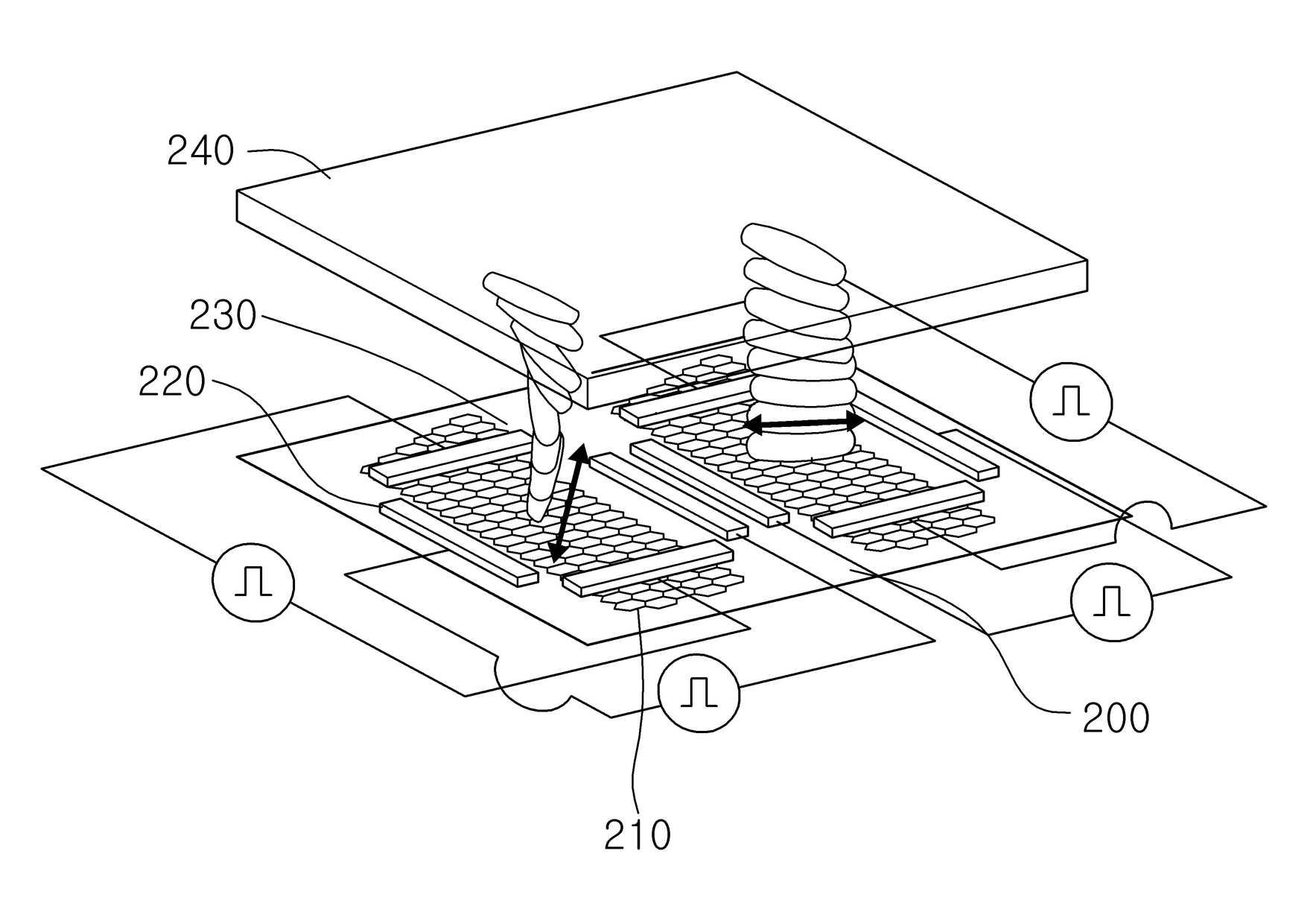
발명의 명칭 육방정계 평면 구조를 이용하는 액정 디스플레이 장치 및 이의 구동방법
授权日:
1900-01-01
公开(公告)号:
KR1020160074774A
申请日:
2014-12-18
公开(公告)日:
2016-06-29
当前申请(专利权)人:
세종대학교산학협력단
发明人:
서용호 | 무하마드아슬란쉐자드
简单同族:
KR1020160074774A
简单同族成员数量:
1
简单同族被引用专利总数:
0
诉讼案件数:
0
法律状态/事件:
实质审查